发布时间:2022-11-25
阅读量:66次
基于网关组态实现空压机远程监控系统
随着物联网各种技术快速发展,各物联网远程监测应用场景也应用而生,以空压机为例:空压机是一种空气压缩和气体输送设备,广泛运用于矿山、机械、电子、医疗等各行业。空压机常规都是需要人在现场监测和维护,现在通过物联网技术,远程监控成为可能,运维人员就可以坐在监控室里对空压机进行监控,而且通过网络随时进行远程监控。通过华辰智通网关无线传输设备和组态软件支持Internet访问,是一种真正的客户服务器模式,而且能够比较容易地开发出良好的监控画面,网络配置简单。

空机压监控要求
空压机监控包括两方面内容,首先采集空压机的相关参数,然后分析采集到的数据作出相应的控制和处理,以保证空压机的正常运行和按工艺要求运行
需采集的参数
各压缩机电机转速、电压、电流;各级吸气压力、排气压力、气瓶组压力、润滑油压力等;各级吸气温度、排气温度、油温、冷却水温、压缩机站内环境监控、电机绕组和轴承温度等。
基于网关无线传输组态的系统网络结构
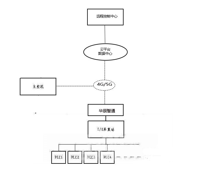
组态完全基于网关无线传,是一种真正的客户服务器模式,可运行在基于TCP/IP网络协议的网上。组态网络结构是一种柔性结构,可以将整个应用程通过网关传输给多个服务器,可以引用远程站点的变量到本地使用(显示、计算等)。服务器的分配可以是基于项目中不同的功能,用户可以根据系统需要设立专门的IO服务器、历史数据服务器、报警服务器和登录服务器等。基于网关的组态空压机远程监控系统可以采用如图所示的网络结构。

在图示的网络结构中,PLC与现场的传感器、变送器和调节机构相连,完成对压缩机相关参数的检测和现场的控制。I/O采集站只负责设备数据采集,通过华辰智通网关实现无线传输,数据服务器集报警服务器、历史数据服务器和登录服务器的功能于一身,负责报警信息的验证和记录,历史数据的记录和用户登录的验证。主控机可以浏览I/O采集站上的实时数据 ,查看I/O站点的报警信息,查询I/O站点的历史记录,可以实现对IO站点连接设备的控制。在此,主控机其实还充当服务器,因为组态服务器系统处理远程IE端的访问请求,无需额外的服务器。远程监控终端通过网络能够在任何地方对空压机进行远程监控。
HINET - 工业边缘计算网关
HINET·G系列边缘计算网关,是华辰智通最新推出的—款面向工业现场设备接入、数据采集、设备监控的工业级边缘计算网关。
采用ARM Cortex-A7 800MHz高性能CPU,拥有以太网、串口、CAN口、IO口等丰富的接口,支持以太网、2G/3G/4G网络接入方式,可满足绝大部分工业应用场景及工业设备接入。
功能介绍:
1、内嵌上百种工业协议,支持99%以上PLC及绝大多数工业设备接入;
2、8GB本地存储+SD卡支待,支持本地数据缓存及离线应用;
3、三合一串口,支持RS485/RS232/RS422三种电气接口;
4、支持协议:MODBUS-RTU协议、MODBUS-ASCII协议、MODBUS-TCP协议、CompactLogix/ControlLogix系列以太网协议、MicroLogix系列以太网协议、SLC500/MicroLogix系列串口设备协议、OPC UA_Client协议 等协议;
5、网关可以采集PLC数据,然后通过MQTT协议上传到平台,通过我们的思普云平台可以实现对设备运行状态和数据的监控;
6、支持边缘计算,在物联网边缘节点实现数据优化、实时响应、敏捷连接、模型分析等业务,有效分担云端计算资源支持多台设备同时接入;
7、支持DC9V~36V宽压输入,适应多种复杂工业现场;
8、支持网关健康自诊断,快捷检测网关故障;
9、支持本地WEB端点表配置,支持本地组态设计和呈现;
10、支持多种标准的VPN (PPTP/ L2TP/IPSec/OpenVPN)。